Почему идут газы в радиатор ?

Всем привет. Идут газы в радиатор,какие могут быть причины?

Газ радиатор

После ремонта топливной аппараты появился стук .

Друзья, подскажите,пожалуйста.Свозил топливную аппарату на ремонт и появился стук , возможно ли это и за зажигание?

Топливная система Стук Топливная аппаратура

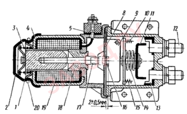
Почему на Амкадоре не работает дистанционное отключение массы(не отрабатывает катушка) ?Контакты окисляются.

Почему на Амкадоре не работает дистанционное отключение массы(не отрабатывает катушка) ?Контакты окисляются.

Всем здрасте. Столкнулся на Амкодоре с неработающим дистанционным отключением массы (не отрабатывала катушка). Решил разобраться. Посмотрел устройство в сети (Дальше будет набор фото), там катушка через гаечки подключается, у меня же видимо поновее будет - стоят пины - как их называют в народе папы. Разобрал - проверил изнутри, где провода от катушек припаяны - катушка нормально прозванивается, подал напругу туда же - работает. А через эти папы не работает. Разобрался )тоже в фотке от производителя но немного пофотошопил. Там к гайкам прикуручены папы (красным выделил), так это место окисляется, и катушка не работает. В данном случае все просто, отпаивать провода изнутри, гаечку отуручиваем и разбираем разъем, все зачищаем ,смазываем литолом и собираем. Надеюсь больше не будет проблем с контактом в этом месте. Всем работы без поломок.

Амкадор Катушка Масса Контакты Окисляются

Хочу поставить стартер и магнитолу, что нужно для этого ?

 Хочу поставить стартер и магнитолу, что нужно для этого ?

Добрый день, всем ребятам трактористам. У меня такой вопрос: хочу поставить стартер и магнитолу, что нужно для этого, можете подсказать ребятки?

Трактор Стартер Магнитола

На МТЗ-82.1 2012 года выпуска по нескольку раз в году меняю тосол .Сливаю ржавый.

МТЗ-82.1 2012 года выпуска вот такая проблема ,каждый год по нескольку раз году меняю тосол ,промываю систему добавлял разные присадки, а результата нет , тосол ржавый аж коричневого цвета .Не могу понять почему и чем лечить эту проблему .Двигатель не разбирался

МТЗ МТЗ 82.1 МТЗ 82.2 МТЗ 82 Тосол

На. тракторе МТЗ- 82.1. задним ходом не работает передок. До этого перебирал промежутку... И теперь она начала визжать.

Добрый день, уважаемые. Такой вопрос возник. Трактор мтз 82.1 2013 года. Задним ходом не работает передок. До этого перебирал промежутку... И теперь она начала визжать. Сначала отлично работала. А теперь визжит и все. В чем может быть проблема? Недостаточно поставил пружинок или ещё что нибудь? Спасибо за совет заранее...

МТЗ 80.1 МТЗ 82 МТЗ 82.1 Промежуток Шум Визжит Задний ход

Какое масло нужно заливать в коробку амкадора ? Такое подходит G-BOX Expert ATF DX III ?

День добрый.Кто заливал в коробку амкадора такое масло?подходит она ?G-BOX Expert ATF DX III

Масло замена масла Коробка Коробка передач Амкадор

Почему ,когда поменял насос на гидравлике на роме 352с ,при заводке из сапуна на гидробаке на второй крышке, хлещет масло ?

Привет парни,что может быть поменял насос на гидравлику на роме 352с,при заводке из сапуна на гидробаке на второй крышке который,хлещет масло что может быть? может какие шланги перепутал? я не спец по ремонту)

Насос РОМ РОМ Амкодор Амкадор 352 с Амкадор Масло течет масло Сапун Гидробак Крышка

Почему на амкадоре то 18б3(333) при трогании с места ,на 1 или 2 передаче -отпускаешь сцепление ,чувствуется рывок ?

Народ подскажите пожалуйста амкадор то 18б3(333) при трогании с места ,на 1 или 2 передаче когда отпускаешь сцепление чувствуется рывок вчем причина знатоки

Амкадор Амкадор ТО18б2 Рывки Сцепление Передача Пониженная передача

Как повысить тягу двигателя д 144 на тракторе т 40 ам, без накрутки тнвд и турбины ?

Как повысить тягу двигателя д 144 на тракторе т 40 ам, без накрутки тнвд и турбины ?

Всем доброго, Как повысит тягу двигателя д 144 на тракторе т 40 ам, без накрутки тнвд и турбины

Как повысить? Тяга ТНВД Турбина Накрутка Двигатель Двигатель Д-144 Трактор Т-40 АМ

Кто нибудь ставил такое сцепление на Мтз 82 кун . стоит ставит или нет

Кто нибудь ставил такое сцепление на Мтз 82 кун . стоит ставит или нет

Кто нибудь ставил такое сцепление на Мтз 82 кун . стоит ставит или нет

Почему при запуске,когда включаю передачу амкадор 333 двигатель а01 не едет, погазую минут 5 -едет ?

Всем привет амкадор 333 2007 года двигатель а01 когда запускаю включаю передачу не едет погазую минут пять потом едет раз в неделю вот такая ерунда и только после запуска двигателя что может быть?

Амкадор Амкадор 333а Двигатель Двигатель А 01 Запуск

Можно ли на тракторный прицеп 2 ПТС 4 поставить резину с китайских грузовиков 8.25 r16?

Всем привет. Вопрос к знатокам. Ставил ли кто на тракторный прицеп 2 ПТС 4 резину с китайских грузовиков 8.25 r16? Интересует как ходит она. По характеристикам она надёжнее чем от газ 53.

резина 2 ПТС 4 Прицеп Трактор Тракторный прицеп Грузовик Китайский грузовик

Как переделать рулевое под дозатор МТЗ-82 ?Кто как крепил кронштейн под цилиндр на мосту старого образца?

привет всем Может кто переделывал рулевое под дозатор МТЗ- 82, кто как крепил кронштейн под цилиндр на мосту старого образца ?

Переделать МТЗ МТЗ 82 Рулевое Дозатор рулевой дозатор Цилиндр Кронштейн

Как ставить дозатор на МТЗ- 82 и как крепить кронштейн под цилиндр, мост старого образца?

Привет всем,подскажите может кто ставил дозатор на мтз 82 и как крепили кронштейн под цилиндр? Мост старого образца.

МТЗ МТЗ 82 Дозатор Гидроцилиндр Кронштейн